
Hello friends welcome to FreeCAD tutorial in our previous tutorial we have learned FreeCAD Part Modeling Tutorial 101. In this tutorial we will do modeling in FreeCAD with the help of Part design workbench of FreeCAD. You can also download my source file of the tutorial at https://mechnexus.com/mechnexus-youtube-tutorial-source-file/ so let’s start our tutorial.
Also Read-:
| Basics of Loft and Sweep Tool in FreeCAD |
| Let’s Explore the FreeCAD Workbench |
| How to Set Default Workbench in FreeCAD |

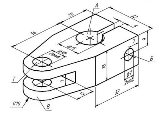
Step by Step Guide to Convert below drawing into 3D Model -:

Select the top plane and create the below sketch.
Create the Pad of 18mm as shown in below image.
Select the top face and create the below sketch.
Create the cut as shown in below image.
Select the mid plane and create the below sketch.
Now create the cut of 7mm as shown in below image and keep it Symmetric to plane as shown in below image.
Project the radius and create hole of diameter 10mm as shown in below image.
Create the hole as shown in below image.
Select the side face and create the below sketch.
Create the hole as shown in below image.

“Thank you for reading! If you found this article insightful and valuable, consider sharing it with your friends and followers on social media. Your share can help others discover this content too. Let’s spread knowledge together. Your support is greatly appreciated!”

